“事件管理”功能说明
系统在风险识别、防御及威胁感知三个阶段都会产生安全事件,基于异常行为的检测技术,有效检测未知威胁,包括黑客渗透攻击、变形webshell、后门等攻击事件回溯,自动将安全事件从海量的日志中抽离并关联,回溯攻击过程并生成事件分析报告。提供对安全事件进行跟踪管理,帮助企业快速定位并修复黑客入侵时利用的风险点。包含事件列表、日志查询和告警设置功能。
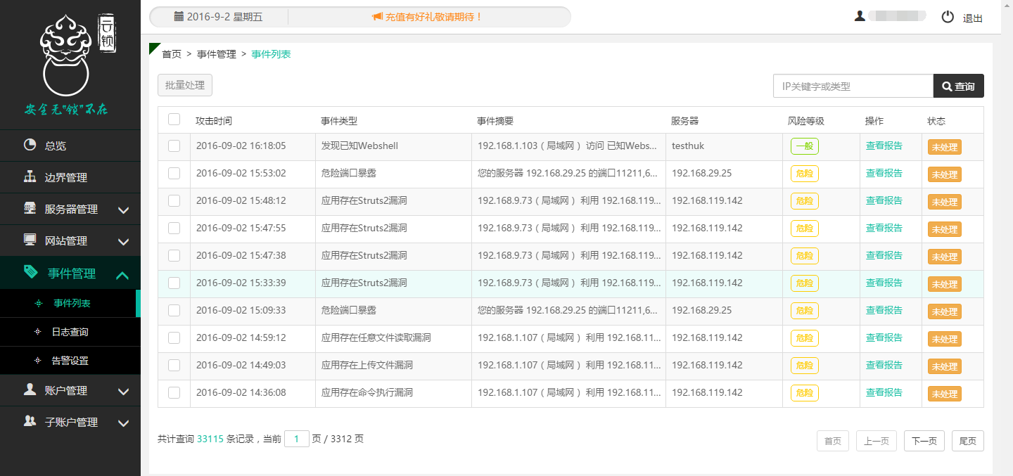
事件列表
根据攻击时间列出所有服务器产生的事件,包括事件类型、事件摘要、产生事件的服务器、风险等级及处理状况。

通过事件的“查看报告”可以看到具体的事件详情。并且可以对攻击的IP等进行回溯,找到被利用的漏洞或者产生漏洞的页面。

在IOC的详情中可以看到详细的攻击过程。

日志查询
记录了对服务器的所有攻击行为及可疑操作,通过日志可以快速、有效的追溯到服务器或者网站被攻击的过程。

告警设置
对产生的事件设置告警,当有事件产生时,则根据设置好的告警策略进行推送。

通过页面对告警策略进行详细的设置和编辑。告警策略通过设置“时间间隔”、“时间段”、“告警方式(邮件、APP、短信、微信)”等向服务器、网站管理人员发送告警。
